NSK轴承 FAG轴承 INA轴承 TIMKEN轴承 NTN轴承 ENGLISH
摩西机械进出口有限公司
原装进口 品质保证
关于我们
轴承型号前缀检索 A B C D E F G H I J K L M N O P Q R S T U V W X Y Z 0 1 2 3 4 5 6 7 8 9
摩西机械进出口有限公司库存轴承型号: 305704-ZZ
YOKE TYPE TRACK ROLLERS - DOUBLE ROW SEALED - CYLINDRICAL O.D.
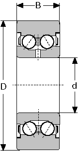
轴承尺寸 (metric) d 20

305700-ZZ Series

D 52
B 20.6

重量:磅
.510
进口轴承型号兑换 FAG 542704
INA LR5204KDD
SKF 305704C-2Z
1) Double row shielded yoke type track rollers - angular contact design - contact angle of 25 They are equipped with two cages made from polyamide 66 material.
2) Double row yoke type track rollers are lubricated with a lithium base grease - operating temperature -30to 110癈. These bearings can be relubricated, if necessary, through a lubrication hole in the inner race.
 
Home
Products
Customer Service
FAQ
 
   
 
Bearings Quality
 
   
 
Price
 

Translate the web to  FrançaisFrançais   EspañolEspañol   DeutschDeutsch   ItalianoItaliano   NederlandsNederlands

Copyright© Mose Machinery Import & Export Co., Ltd.China Bearings